
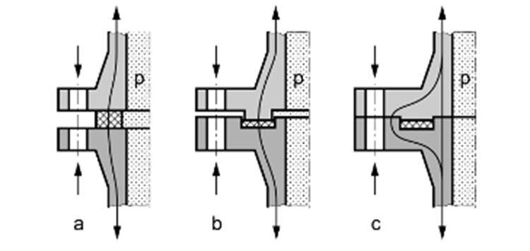
Bild 3: Einbauvarianten von Dichtungen in Flansche: a) Ebene Flanschfläche (Krafthauptschluss), b) Flansch im Nut und Federbauweise (Krafthauptschluss) Mitte, c) Flansch im Nut und Federbauweise, mit komplett umschlossener Dichtung (Kraftnebenschluss) (Bild: Ulman Dichtungstechnik GmbH)
09.03.2023 Dichtungen „ernst nehmen“
Reminder: Darauf kommt es bei der Auswahl von Dichtungen an
Über viele Dichtungen ist eigentlich fast alles gesagt, abgesehen von der Werkstoffentwicklung passiert nicht viel Neues. Soviel zur Theorie. In der Praxis sieht das oft ganz anders aus, denn Basiswissen ist teilweise (noch) nicht vorhanden oder wird vernachlässigt. Aus diesem Grund ist das die Zeit für einen kleinen Reminder, die Auswahl von Dichtungen nicht zu unterschätzen.
Konstruierende tragen mit der Auswahl einer Dichtung für eine Dichtstelle eine hohe Verantwortung für den effektiven Betrieb von Anlagen und Systemen, für die Einhaltung von Gesetzen, Verordnungen und Normen sowie letztlich für den Schutz von Gesundheit und Umwelt. Auch wenn viele Dichtungen immer noch als „C-Teil“ missverstehen, haben sich diese in vielen Applikationen längst zu systemrelevanten Bauteilen entwickelt – und diese Entwicklung geht weiter. Ein Grund mehr, ihrer Auswahl die gebührende Aufmerksamkeit zu schenken und Dichtsysteme mit ihren ganzen Wechselwirkungen zu verstehen oder im Zweifelsfall, auf die Unterstützung von Spezialisten zurückzugreifen. Die Tatsache, dass Dichtungswissen kaum gelehrt wird, ist dabei als Dilemma zu sehen. Insbesondere, da junge Ingenieur:innen umfangreiches Dichtungswissen für die Lösung zahlreicher, komplexer Aufgabenstellungen benötigen. Die nachfolgenden Hinweise ersetzen kein Basiswissen, sie sind eher als Erinnerung gedacht, diese scheinbar einfachen Bauteile „ernst zu nehmen“.
